SYN4382 "Triple Combo" Wi-Fi® , Bluetooth® , IEEE 802.15.4 (Zigbee/Thread) SoC
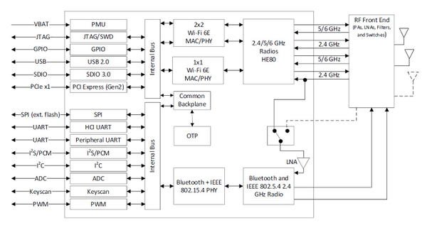
The SYN4382 "Triple Combo 2" integrates Wi-Fi 6/6E, Bluetooth 5.3, and IEEE 802.15.4 radios on a single state-of-the-art system-on-chip (SoC) to reduce the space, cost, power, complexity, and time to market of wirelessly enabled IoT devices. With applications ranging from multimedia streaming for the smart home to automotive entertainment, security, and the smart factory, the SYN4382 is Matter compliant for secure, seamless interoperability in a heterogeneous, multi-platform wireless environment.
The Wi-Fi radio is IEEE 802.11ax compliant with legacy support for 802.11a/b/g/n, has a 2 x 2 antenna arrangement for a throughput of up to 1200 Mbps, and features real-time simultaneous dual-band (RSDB) capability to allow the 2.4 GHz and either the 5 or 6 GHz radios to connect and stream multimedia content at the same time for optimum performance and more robust connectivity. The Bluetooth 5.3 radio features LE Audio for multiple concurrent Bluetooth audio streaming connections, as well as Bluetooth Channel Sounding for accurate positioning. Built-in support for the Thread networking protocol allows devices using the SYN4382 to connect to a smart home’s secure, low-power mesh network while acting as a Thread Router node including advanced mesh networking and security features.
Other features include on-chip power amplifiers (PAs) and low-noise amplifiers (LNAs), with support for external PAs and LNAs and Synaptics Smart Co-Ex technology for best-in-class coexistence of Wi-Fi and Bluetooth radios in the 2.4 GHz band.
Applications
- Multimedia streaming for the smart home
- Automotive in-cabin entertainment
- Position tracking
- Personal area networks
- Security
- Smart factories/Industry 4.0
Benefits
- High integration reduces footprint, cost, power, complexity, and time to market.
- Operates in 2.4 GHz and 5 or 6 GHz bands simultaneously with up to 1200 Mbps throughput.
- Allows multiple concurrent Bluetooth connections and audio streams.
- Enables highly accurate positioning.
- Advanced Wi-Fi/Bluetooth radio co-existence capability for high quality of service (QoS) and robust connections.
- Secure
- Seamless interoperability across multiple heterogeneous wireless networks.
